管式阀G1/4 (IP20-端子式)、2x两位三通阀、内先导、常闭,机械弹簧复位、FVG-L18-T32C-M-G14-AP、7180011202

管式阀G1/4 (IP20-端子式)、2x两位三通阀、内先导、常闭,机械弹簧复位、FVG-L18-T32C-M-G14-AP、7180011202

订货代码: 7180011202
规格型号: FVG-L18-T32C-M-G14-AP
  • 规格 :18mm
  • 流量 :780... 1380 l/min
  • 电压 :24V DC
参数表 收藏 询盘

相关配件

  • 功能参数
  • 资源下载
  • 相关视频
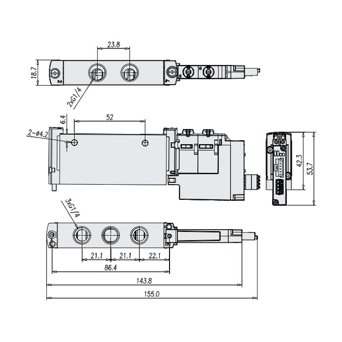
类型管式阀 G1/4 (IP20-端子式)
阀功能2x两位三通阀,常闭,机械弹簧复位
先导气源内先导
说明G1/4 螺纹 气源口/工作口/排气口

主要技术参数
阀功能两位三通两位五通三位五通
常态位置C1)U2)H4)C1)U2)H4)---C1)U2)E3)
气复位--
弹簧复位-
真空工作,气口 1仅适用于外先导气源
规格 [mm]18
结构特点活塞式滑阀
密封原理软密封
驱动方式电驱动
控制方式先导控制
先导气源内或外先导
排气功能可被节流
手控装置按钮式/锁定式
安装方式可选通过通孔或气路板
安装位置任意
公称通径 [mm]5.76.97.36.96.56.3
标准额定流量 [l/min]880970950870990920300
1380130012001000910
气路板上的流量 [l/min]780
980
8207809608201300
1370130011801220
1050
开关时间

FAS-...开/关 [ms]

13/27
15/22
15/31-10/4515/48

FAS-...转换 [ms]

-
-
-11-29
气接口    1, 2, 3, 4, 5G1/4
接口    12/14M5
耐腐蚀等级 CRC2

1) C=常闭/中封式 

2) U=常开/中压式 

3) E=中泄式 

4) H=2x两位三通阀集成在一个壳体内,带1x 常闭和1x常开


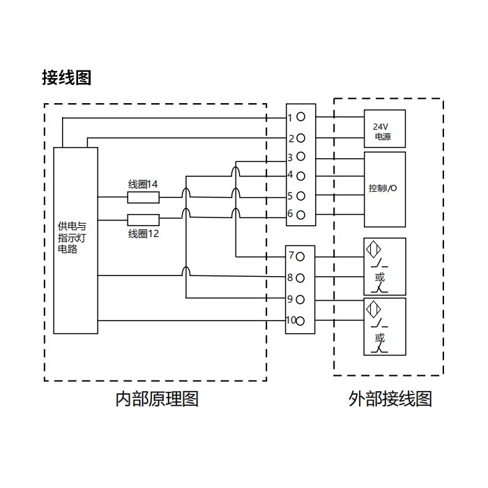
针脚分配
接线端子,6 Pin,PNP/ NPN

阀FVG-L10 1 6PIN 端子.png

1. 黑;0 V
2. 红;24 V
3. 白;DI 2
4. 黄DI 1
5. 绿;DO (线圈14 )
6. 蓝;DO (线圈12 )
接线端子,4 Pin,PNP/ NPN

阀FVG-L10 1 4PIN 端子.png


7. 棕 (DI 2);两线制磁开
8. 蓝;两线制磁开
9. 棕 (DI 1);两线制磁开
10. 蓝;两线制磁开

工作和环境条件
阀功能两位三通1)两位三通3)两位五通2)两位五通两位五通3)三位五通
工作介质压缩空气,符合 ISO 8573-1:2010 [7:4:4]
工作压力: 内先导 [MPa] 0.15…0.80.25…0.80.25…0.80.15...0.80.3…0.80.3…0.8
工作压力: 内先导 [bar]1.5…82.5...82.5...81.5…83...83…8
工作压力: 外先导 [MPa] 0.15…1–0.09…1–0.09…0.8–0.09…1
工作压力: 外先导 [bar]1.5…10–0.9…10–0.9…8–0.9…10
先导压力 [MPa] 0.15…0.80.2…0.80.25...0.80.15…0.80.3…0.80.3...0.8
先导压力 [bar]1.5 … 82...82.5...81.5…83…83...8
环境温度  [°C]–5 … +50保持电流–5 … +60
介质温度  [°C]–5 … +50保持电流–5 … +60
1) 气复位 

2) 混合,气复位/弹簧复位

3)弹簧复位


电气参数
电接口直插式端子
工作电压 [VDC]24 ±10%
功耗 [W]1/0.4 (25ms后)
占空比 [%]100
防护等级,符合 EN60529IP20

材料信息
壳体锻造铝合金
密封件HNBR, NBR
材料注意事项RoHS合规
油漆湿润缺陷物质标准VDMA24364-B1/B2-L